欢迎来到郑州盈派知识产权代理事务所网站!
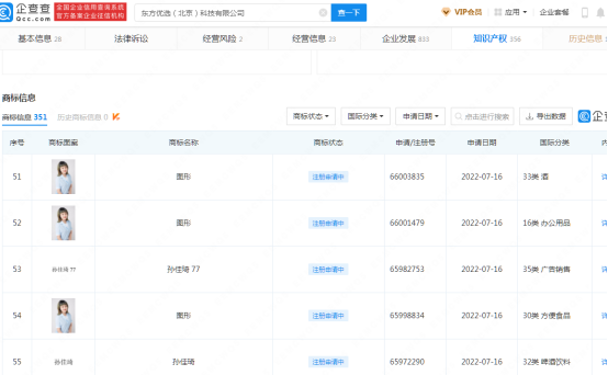
近日,东方优选(北京)科技有限公司申请注册多个东方臻选直播间主播肖像商标,包括“董宇辉、孙佳琦、孙楚涵”等人肖像。
这些商标涵盖教育娱乐、广告销售、农林生鲜、办公用品等类别,目前处于申请中状态。


去年年底,新东方宣布推出直播带货新平台“东方甄选”,今年6月,凭借“双语带货”新型直播方式,新东方在线旗下直播平台东方甄选主播董宇辉火爆网络,粉丝量和直播间总销量激增。
新东方直播间爆火之后,主播名字遭遇商标抢注,很多个人和企业抢注“董宇辉”等商标。

针对抢注一事,董宇辉在在直播间回应,他在上海商标局的同学告诉他,说他们也不太理解这种,因为没有经过本人的同意,这是不可能通过的。董宇辉说:“所以读书真的很重要,要不然你连想占便宜都占不上。” “东方甄选”直播间有董宇辉,YOYO、顿顿等主播,均来自新东方旗下教师。 新东方这波操作,让不少网友直呼“666”,把主播肖像注册商标,既不用担心商标近似问题,又具有辨识度,是很不错的商标保护策略。

现如今,文字商标注册量很大,提交新的文字商标近似的可能性较大,而且简短优质的商标资源大多已被占用,而肖像商标数量少,近似的可能性极低,注册成功率较高,属于另辟蹊径的一种做法。
而且,根据以往案例,使用肖像商标,可以拉进与消费者之间的距离,更容易产生信任感,对于品牌发展也有一定的推动作用。
如果你正在为商标起名犯难,不妨换个方向,注册一个肖像商标试试看,说不定就红遍行业市场了呢。
为广大科技成长型企、事业单位提供集知识产权获权、保护、成果转化、风险管控、运营增值、战略规划于一体的综合性服务。
精确掌握各类项目申报、审核要点
行业中获得良好的口碑信誉
方便企业进行后期项目跟踪
顾问初审、工程师复审、经理终审
从客户细节处着手
专业专注的态度,诚信敬业的精神